 |
| |
WZT型屋顶自然通风器 |
| |
机号:15#-50# 风量:8336-91661m3/h |
| |
特点:排风阻力低,具有良好的防雨雪及避风性能,自重轻、现场安装、施工周期短 |
| |
应用:发电厂、冶金、化工、石油、机械、造纸、橡胶等部门的各类大中型厂房通风。 |
|
 |
|
WZT型屋顶自然通风器
特性及应用
WZT 系列屋顶自然通风器,是我公司吸收国内外同类产品的先进技术,开发研制的新一代无动力自然通风产品,本系列自然通风器,在气流组织上进行了多工况优化试验,对结构进行了优化改进。具有排风阻力低的突出优点,是性能良好的自然通风设备,同时具有良好的防雨雪及避风性能,任意大小、方向的自然风都不会影响屋顶通风器的排风效果,省却了另设挡风板。外围护板采用压型彩钢板或玻璃钢,具有自重轻、无振动、不消耗电能、可现场安装、施工周期短等优点。外部色彩一般为兰色或白色,也可根据用户要求确定。WZT型屋顶自然通风器是高热厂房自然通风的理想换代产品,广泛应用于电力、冶金、化工、石油、机械等部门的各类厂房通风。
WZT 系列屋顶通风器喉部设有电动阀板,电动阀板为自动停机控制,方便用户操作。阀板在开启时起导流作用,保证通风效果良好,关闭时闭合严密,可保证采暖系统按设计工况正常运行,若厂房含湿量较高,可对喉部阀板及围板采取保温措施,以防结露。
WZT系列屋顶自然通风器分为二种,分别为圆弧型屋顶自然通风器和薄型自然屋顶通风器。
WZT系列屋顶自然通风器的工作原量:自然通风利用室内外温差所造成的热压及风力所造成的风压来实现换气的一种通风方式。
圆弧型屋顶自然通风器
一、型号说明
例:WZT — Y — 15
WZT——屋顶自然通风器
Y——--圆弧型
15——-喉口宽度
二、选型简介
屋顶通风器选型可按"每米长度排风量表"确定,也可按公式计算选择。屋顶通风器喉口宽A分别为 1.5m 、 2.0m 、 2.5m 、 3.0m 、 4.0m 、 5.0m 、六种规格,长度L按用户要求加工制作。选取时应根据厂房高度、进排风温差、通风量等综合素计算确定;如单排布置不能满足排风量要求时,可以双排或多排布置。
1、查表选择:
为了便于用户选型,在下页中给出了屋顶通风器的每米长度排风量表,供用户根据现场情况参照查取,直接确定所需屋顶通风器的规格、长度。
编制"每米长度排风量表"时仅考虑了以下条件:
①排风量仅考虑热压作用;
②室内工作区温度按"夏季通风室外计算温度"+ 4℃ 确定。
2、公式计算选择:
由于受构件影响,屋顶通风器喉口空气流通实际宽度比喉口小 0.2m 。选型计算公式为:
F= 
F—--屋顶通风器喉口空气流通面积F=(B-0.2)L
G—--屋顶通风器排风量
g—--重力加速度
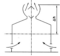
▲h—屋顶通风器顶部距房屋中间高度
ρw—室外空气密度
ρn—室内空气平均密度ρn=(ρg+ρp)/2
ρg—工作区空气密度
ρp—排风空气密度
ε—-屋顶通风器喉口处局部阻力系数,计算时取值2.16
|
m
2
k
g/s
m/s
2
m
kg/m
3
k
g/m
3
k
g/m
3
k
g/m3
|
 |
三、性能参数表
屋顶通风器排风量估算值(kg/h.m)(μ=0.84)
型号hp(m) |
10 |
15 |
20 |
25 |
30 |
40 |
50 |
60 |
Tp-tw= 8℃ |
WZT-Y-15 |
8336 |
1028 |
11789 |
13180 |
14437 |
16645 |
18639 |
20418 |
WZT-Y-20 |
11114 |
13612 |
15718 |
17573 |
19250 |
22193 |
24852 |
27224 |
WZT-Y-25 |
13893 |
17014 |
19647 |
21966 |
24062 |
27741 |
31065 |
34030 |
WZT-Y-30 |
16672 |
20418 |
23576 |
26359 |
28874 |
33290 |
37278 |
40836 |
WZT-Y-40 |
22228 |
27224 |
31435 |
35146 |
38499 |
44386 |
49704 |
54448 |
WZT-Y-50 |
27785 |
34030 |
39294 |
43932 |
48124 |
55483 |
62130 |
68060 |
Tp-tw= 10℃ |
WZT-Y-15 |
9277 |
11360 |
13118 |
14666 |
16067 |
18552 |
20741 |
22722 |
WZT-Y-20 |
12368 |
15147 |
17492 |
19555 |
21422 |
24737 |
27655 |
30295 |
WZT-Y-25 |
15460 |
18934 |
21863 |
24444 |
26777 |
30921 |
34568 |
37869 |
WZT-Y-30 |
18552 |
22721 |
26236 |
29333 |
32132 |
37104 |
41482 |
45344 |
WZT-Y-40 |
24737 |
30293 |
34981 |
39110 |
42843 |
61841 |
69137 |
75738 |
Tp-tw= 12℃ |
WZT-Y-15 |
10113 |
12386 |
14301 |
15990 |
17515 |
20225 |
22612 |
24770 |
WZT-Y-20 |
13483 |
16514 |
19068 |
21319 |
23354 |
26967 |
30149 |
33027 |
WZT-Y-25 |
16854 |
20643 |
23835 |
26649 |
29192 |
33710 |
37686 |
41284 |
WZT-Y-30 |
20225 |
24772 |
28602 |
311979 |
35031 |
40451 |
45224 |
49540 |
WZT-Y-40 |
26967 |
33029 |
38136 |
42638 |
46707 |
53935 |
60298 |
66055 |
WZT-Y-50 |
33710 |
41286 |
47670 |
53298 |
58384 |
67418 |
75374 |
82567 |
Tp-tw= 15℃ |
WZT-Y-15 |
11226 |
13749 |
15876 |
17751 |
19445 |
22452 |
25703 |
27450 |
WZT-Y-20 |
14969 |
18332 |
21168 |
23668 |
25925 |
29936 |
33471 |
36665 |
WZT-Y-25 |
18722 |
22916 |
26460 |
29585 |
32407 |
37420 |
41838 |
45830 |
WZT-Y-30 |
22454 |
27499 |
32345 |
35501 |
38890 |
44903 |
50285 |
54996 |
WZT-Y-40 |
29888 |
3665 |
4236 |
47335 |
51852 |
59872 |
66941 |
73329 |
WZT-Y-50 |
37422 |
45830 |
52920 |
59170 |
64814 |
74840 |
83677 |
91661 |
四、构造图
五、规格型号及外形尺寸表
外形尺寸表
序号 |
型号 |
喉口尺寸A(mm) |
外形尺寸及重量 |
电机功率
(kW/ 6m ) |
a(mm) |
b+c(mm) |
重量(Kg/m) |
1 |
WZT-Y-15 |
1500 |
2700 |
2200 |
185 |
0.37 |
2 |
WZT-Y-20 |
2000 |
3720 |
2700 |
240 |
0.37 |
3 |
WZT-Y-25 |
2500 |
4650 |
2900 |
295 |
0.37 |
4 |
WZT-Y-30 |
3000 |
5270 |
3100 |
350 |
0.55 |
5 |
WZT-Y-40 |
4000 |
7440 |
3940 |
490 |
0.55 |
6 |
WZT-Y-50 |
5000 |
9300 |
4600 |
630 |
0.75 |
注:风荷载为1200Pa屋顶通风器每L 3米 组成一个单元,所以完整的屋顶通风器由两个端头单元和若干个中间单元组成,电源380V、 50Hz。
五、屋顶通风器的安装示图
屋顶通风器安装在用户提供的基础构架上,构架面应做成水平。可以单排布置,也可双排布置,可布置在双坡屋面的屋脊处,也可布置在斜屋面上。屋顶通风器安装完毕后,应作防水处理。
订货须知:
1、请注明屋顶通风器的型号,规格,每组长度、总长度及颜色等;
2、若用户对屋顶通风器的阀板及喉口围板有保温防结露要求,请说明;
3、 本公司也可根据用户需要,白日提供非标准规格的屋顶通风器。