您当前位置:网站首页> 产品展示> 风机系列> 人防风机附件系列产品
产品展示 / Products Show
1、WEXD系列边墙风机
2、WBXD系列板壁式轴流风机
4、KDF系列空调风机
厨房排烟家用新风机
F270I/II型风机
风量:300-1100m3/h 风压:123-58Pa
特点:采用电机或手摇,是人防工程必备的通风换气设备
应用:人防工事、防空地下室、地下指挥所、地下旅馆、餐厅商场等建筑通风换气及净化空气
SR900型风机
风量:900-1650m3/h 风压:1450-2000Pa
特点:采用电机或两人脚踏,风量大、风压高、是人防工程必备的通风换气设备
应用:人防工事、防空地下室、地下指挥所、地下旅馆、餐厅商场等建筑通风换气及净化空气
DJF型风机
风量:2600-3060m3/h 风压:600-900Pa
特点:采用电机或四人脚踏,风量大、是人防工程必备的通风换气设备
应用:人防工事、防空地下室、地下指挥所、地下旅馆、餐厅商场等建筑通风换气及净化空气
一、性能参数表

  

平时(电力驱动)

电源毁坏时(人力驱动)

外形尺寸mm
(
××)

风量(m3/h)

风压(Pa)

转速(rpm)

功率(kW)

风量(m3/h)

风压(Pa)

SR900

9001650

14502000

2900

1.1

900

830

1250×1080×1000

DJF

26003060

600900

1450

1.1

1200

400

1480×1480×900

F270

Ⅰ 型

300700

11458

2800

三相0.55
单相0.37

300

58

440×830×325

Ⅱ 型

5001100

12358

2800

三相0.55
单相0.37

300

58

440×830×325

二、外形示图
三、人防通风系统及附件介绍

1、进风消波悬殊摆活门
2
LP滤尘器
3
、手动密封阀门
4
、预滤器

5、软管接头
6
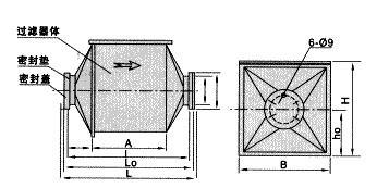
、过滤吸收器
7
、电动脚踏(手摇)二用风机
8
、风量调节阀

9FX-Ⅰ风量显示器(或风量测点)
10
FY 自动排气阀
a
、阻力测点

(二)900m3/h消波悬摆活门 (三)LP滤尘器
(四)手动密封阀门(风量调节阀) (五)预虑器        (六)软管接头
(七)过滤吸收器 (八)FY 自动排气阀